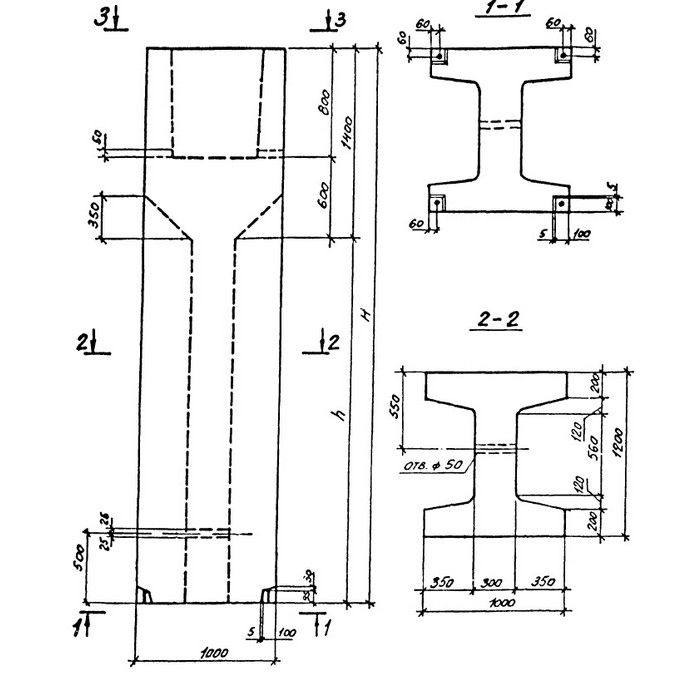
Блок-стакан верхний ВБ 9-14-51-2 предназначен для использования в строительстве железобетонных конструкций. Он обеспечивает надежное соединение элементов и обеспечивает устойчивость и прочность всей конструкции. Блок-стакан верхний ВБ 9-14-51-2 идеально подходит для строительства зданий, мостов, туннелей и других сооружений, где требуется высокая надежность и долговечность.









